SRAM podľa nového patentu pracuje na mechanickej verzii prehadzovača Transmission

Foto: Patent US-20250033740-A1
SRAM Transmission je momentálne dostupný iba v elektronickej bezdrôtovej verzii. Nedávno zverejnená patentová prihláška (US-20250033740-A1) však naznačuje, že SRAM pracuje aj na mechanickej verzii tohto systému.
Charakteristickým znakom tejto technológie je priame uchytenie prehadzovača, ktoré namiesto klasickej pätky ponúka pevnejšie spojenie s rámom a presnejšie radenie.
Jedný zo špecifík pri nastavovaní prehadzovača Transmission je absencia skrutky na doladenie vzdialenosti medzi prehadzovačom a kazetou (B-gap).
Namiesto tradičného jemného doladenia je potrebné ručne nastaviť jeho polohu ešte pred definitívnym dotiahnutím upevňovacej skrutky.
Celý proces prebieha tak, že najskôr treba správne nastaviť dĺžku reťaze, prehadzovač umiestniť na konkrétny pastorok, následne ho otočiť dozadu, kým sa reťaz napne, a až potom dotiahnuť skrutku.
Pri mechanickej verzii by bol tento proces výrazne komplikovanejší, pretože vratná pružina prehadzovača kladie odpor a bráni jeho držaniu v správnej polohe. Práve tomuto problému sa SRAM vo svojom patente venuje.
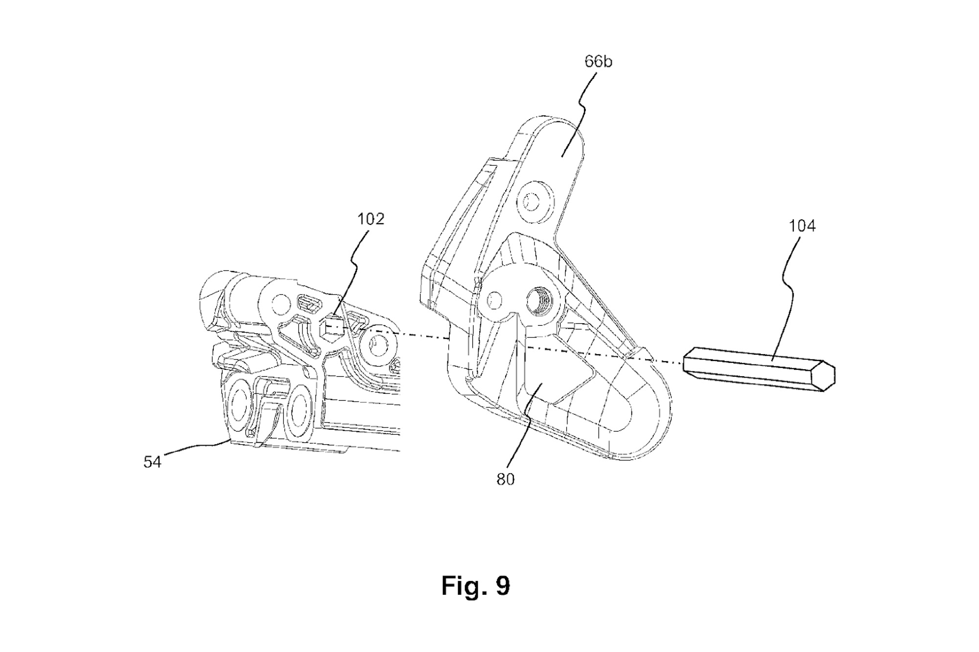
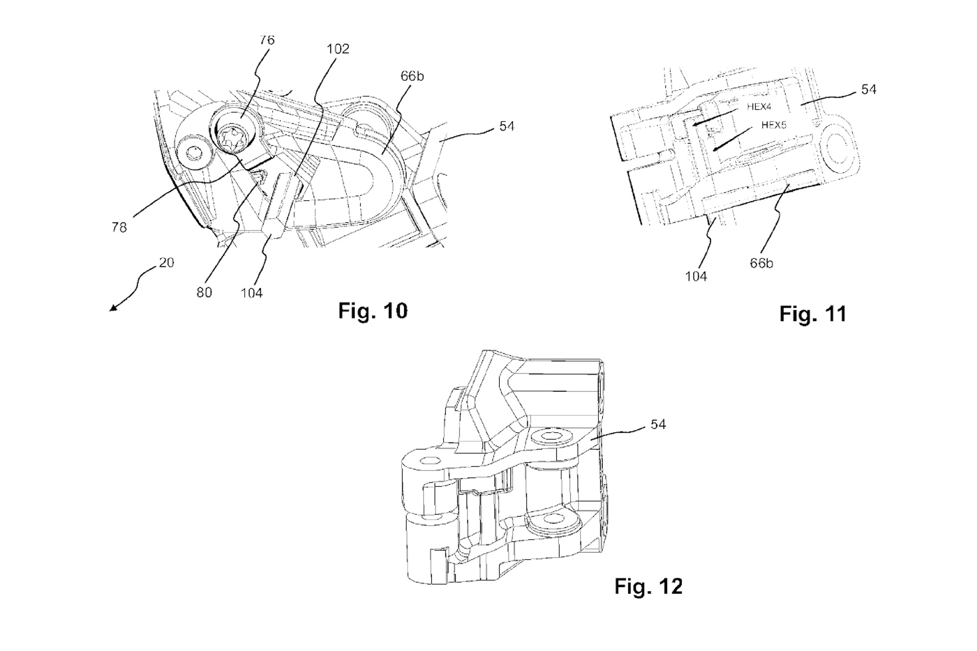
Patent navrhuje riešenie v podobe blokovacieho mechanizmu, ktorý by umožnil dočasne fixovať prehadzovač v požadovanej pozícii pomocou imbusového kľúča, ktorý by sa vložil do otvorov v jeho pohyblivej časti.
Rôzne veľkosti imbusov by pritom slúžili pre rôzne typy bicyklov – napríklad hardtaily by mohli vyžadovať 5 mm imbus, zatiaľ čo pri celoodpružených modeloch, kde treba zohľadniť pohyb zadnej stavby, by sa mohol používať 4 mm imbus pre iný pastorok.
Patent tiež popisuje alternatívne metódy, ktoré by umožnili dočasné zafixovanie prehadzovača pri nastavovaní napätia reťaze, pričom niektoré z nich by nevyžadovali žiadny špeciálny nástroj.
Hoci samotný patent nie je dôkazom, že mechanická verzia Transmission skutočne príde na trh, naznačuje, že SRAM aktívne pracuje na jej vývoji.
Ak by sa takýto prehadzovač dostal do výroby, mohol by zaujať jazdcov, ktorí preferujú jednoduchosť lankového radenia, ale nechcú sa vzdať výhod systému priameho uchytenia prehadzovača Transmission.
Navyše je pravdepodobné, že mechanická verzia by bola cenovo dostupnejšia ako elektronická.











