SRAM získal patent na systém, ktorý by mohol nahradiť prešmykač

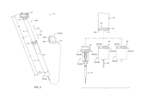
Nový patent Sramu na systém radenia integrovaný priamo v prevodníku. Kolíky, ktoré preraďujú reťaz na väčší prevodník. Foto: Patent: US-12208861-B2
Amerciký výrobca komponentov SRAM získal patent (US-12208861-B2) na nový systém predného radenia, ktorý je priamou súčasťou prevodníka.
Táto inovácia by mohla nielen zlepšiť aerodynamiku cestných bicyklov s dvojprevodníkom, ale zároveň otvoriť dvere k radikálne novým dizajnom rámov.
Patent opisuje bezdrôtový elektronický prehadzovač, ktorý je integrovaný do prevodníka a napájaný batériou AXS umiestnenou priamo na kľuke. To znamená, že bicykle s týmto systémom nebudú potrebovať klasický úchyt na prešmykač.
Z aerodynamického hľadiska je táto novinka zaujímavá – odstránenie prešmyku z rámu môže znížiť turbulenciu vzduchu v tejto oblasti a tým aj odpor.
SRAM sa už v minulosti pokúsil o podobné riešenie – v roku 2008 predstavil Truvativ Hammerschmidt, dvojstupňový MTB systém bez potreby prešmykaču. Nový koncept síce ide podobným smerom, ale technicky je jeho riešenie úplne iné.
Patent, ktorý SRAM podal už v roku 2019 a bol oficiálne schválený 8. januára, samozrejme, nie je zárukou, že sa takýto systém skutočne dostane do výroby. Niektoré patenty vznikajú len na ochranu nápadov pred konkurenciou. No fakt, že SRAM patent získal, naznačuje, že projekt môže mať budúcnosť.
Celý mechanizmus radenia je zabudovaný priamo v prevodníku.
Pre podradenie sú na veľkom prevodníku umiestnené dve výklopné páčky, ktoré zasahujú do priestoru medzi zubami. Počas otáčania kľúk sa páčka vyklopí dovnútra a postupne zatlačí reťaz dovnútra, až kým nespadne na menší prevodník.
Keďže sa tento pohyb odohráva počas každej otáčky kľúk, radenie nadol môže prebehnúť dvakrát za jedno otočenie.
Preradenie na tažší prevod je zložitejší proces. Medzi prevodníkmi sú umiestnené vodiace kolíky, ktoré sú postupne umiestnené ďalej od stredu kľúk. Pri radení sa mechanizmus posunie smerom k menšiemu prevodníku, kde sa kolíky dostanú do medzier medzi zubami.
Keď sa reťaz začne ťahať cez tieto kolíky, tie ju nadvihnú a navedú na väčší prevodník. Na rozdiel od radenia nadol je pre radenie nahor možnosť prehodenia len raz za jednu otáčku kľúk.
Na prvý pohľad sa môže zdať, že SRAM rieši neexistujúci problém, no ich patent naznačuje niekoľko významných výhod. Jednou z nich je väčšia dizajnová sloboda pre výrobcov rámov, keďže nie všetky bicykle majú klasickú sedlovú rúrku na montáž predného prešmykaču.
Ďalšou výhodou je väčší priestor pre plášte. Pri pohonoch ako SRAM Force eTap AXS Wide je batéria AXS umiestnená tesne za mechanizmom prešmyku, čo obmedzuje možnosť použitia širších plášťov. Ak sa celý mechanizmus presunie na prevodník, tento problém sa eliminuje, čo ocenia predovšetkým gravel aj cestní cyklisti.
Zároveň by takéto riešenie mohlo priniesť aj presnejšie radenie, keďže mechanizmus je integrovaný priamo do prevodníka a nie je závislý od montážnych tolerancií rámu. Tým sa eliminuje možnosť nesprávneho nastavenia, čo je bežný problém pri klasických systémoch.
Na druhej strane však aj otvorené otázky. To je prirodzené, keďže sa patenty často podávaju čo najvšeobecnejšie, aby pokryli čo najviac potenciálnych riešení.
SRAM síce tvrdí, že systém je modulárny, takže by malo byť možné meniť samotné prevodníky nezávisle od radenia, no zatiaľ nie je jasné, ako bude riešená kompatibilita rôznych veľkostí.
Otázne je aj samotné radenie, ktoré môže byť pomalšie, keďže pri presune reťaze na väčší prevodník je možnosť prehodenia len raz za jednu otáčku kľúk, čo môže byť v porovnaní s klasickým prešmykom nevýhoda.
Ďalšou komplikáciou je možné znečistenie mechanizmu. Na rozdiel od Hammerschmidtu, ktorý bol uzavretý a chránený pred vonkajšími vplyvmi, nový systém bude neustále vystavený nečistotám z reťaze.
Pri každom otočení kľúk sa do mechanizmu môže dostať blato a prach, čo môže ovplyvniť jeho spoľahlivosť. Preto je pravdepodobné, že sa systém bude orientovať na cestné bicykle, kde by mohla byť aerodynamická výhoda najvýraznejšia a znečistenie menšie.
Najzaujímavejším aspektom tejto technológie je fakt, že odstraňuje jeden z hlavných konštrukčných obmedzení pri navrhovaní rámov. Výrobcovia už nebudú musieť brať do úvahy montážny bod pre predný prešmyk, čo by mohlo viesť k radikálne novým tvarom rámov, najmä v segmente aero cestných a časovkárskych bicyklov
SRAM sa síce zatiaľ nevyjadril, či túto technológiu plánuje zaviesť do sériovej výroby, ale fakt, že ju patentoval, naznačuje, že minimálne experimentuje s novými možnosťami.











